HT12E Encoder RF 12 Bits – Codificador para Control RF/IR
$ 4.000,0 +IVA
HT12E Encoder RF 12 Bits, codificador CMOS para transmisión inalámbrica en sistemas de control remoto RF e IR.
6 disponibles
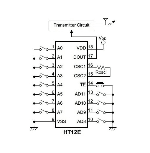
El HT12E Encoder RF 12 Bits es un circuito integrado codificador CMOS diseñado para aplicaciones de transmisión inalámbrica mediante radiofrecuencia (RF) o infrarrojo (IR). Este componente permite convertir señales paralelas en una señal serial codificada, facilitando la comunicación segura y estable entre un transmisor y su receptor correspondiente.
El HT12E Encoder RF 12 Bits trabaja con un sistema de direccionamiento de 12 bits, que pueden configurarse como 8 bits de dirección y 4 bits de datos, ofreciendo múltiples combinaciones para evitar interferencias entre dispositivos similares. Esto lo convierte en una solución ideal para controles remotos, automatización del hogar, sistemas de alarma, robótica y proyectos electrónicos inalámbricos.
El funcionamiento del codificador se basa en la lectura de entradas digitales que, al activarse, generan una señal serial modulada que puede transmitirse mediante módulos RF de 315MHz o 433MHz, así como mediante emisores IR. Para operar correctamente, requiere un oscilador externo (generalmente una resistencia) que determina la frecuencia de trabajo interna.
Gracias a su bajo consumo energético y compatibilidad con lógica TTL/CMOS, el HT12E Encoder RF 12 Bits es ampliamente utilizado en proyectos con microcontroladores, sistemas embebidos y dispositivos de control remoto personalizados.
Funciones destacadas de HT12E Encoder RF 12 Bits
-
Codificación de 12 bits (8 dirección + 4 datos).
-
Compatible con módulos RF e IR.
-
Bajo consumo de energía.
-
Fácil integración en proyectos electrónicos.
Usos comunes en electrónica inalámbrica
-
Controles remotos RF 315MHz y 433MHz.
-
Sistemas de automatización doméstica.
-
Alarmas y sistemas de seguridad.
-
Proyectos de robótica y microcontroladores.
Características técnicas
-
Modelo: HT12E
-
Tipo: Codificador CMOS de 12 bits
-
Configuración: 8 bits de dirección + 4 bits de datos
-
Encapsulado: DIP-18
-
Alimentación: 2.4V a 12V DC
-
Compatibilidad: Módulos RF, transmisores IR y sistemas digitales TTL/CMOS
Datasheet: HT12E
Para mas circuitos integrados consulte la sección Circuitos Integrados.
Debes acceder para publicar una valoración.










Valoraciones
No hay valoraciones aún.